-
5年累亏15亿的呷哺呷哺,已沦为“仙股”
呷哺呷哺股价已跌至不足1港元,市值蒸发超98%
-
中一签赚近39万!这只新股什么来头?
联讯仪器成立于2017年3月,对外投资7家企业
-
京东云“龙虾天团”成员JoyClaw申请注册商标
京东云JoyClaw是京东云于近期上线的AI个人助理
-
北汽新能源换帅完成
刘观桥任北汽新能源董事长
-
从手机到机器人,荣耀申请注册闪电机器人商标
此前,荣耀齐天大圣队的人形机器人“闪电”夺得北京亦庄人形机器人半马赛事第一名
-
怎样打造1000款年销售过亿新品?京东“新品全域通千亿计划”这么做
京东将继续通过营销创新来服务品牌的生意增长,帮助品牌的新品实现高效转化和确定性回报
-
京东PLUS会员购车立省超7000元!国民好车2.0深蓝L06增程版正式开启大定
京东汽车宣布京东PLUS会员购车可享95折,这是汽车行业首次开创平台会员直接享受整车价格折扣的新模式,标志着“电商+车企”合作模式迈向了新阶段,平台会员价值也从日常消费延伸到了涵盖购车、用车等更广阔链路 投资时间网、标点财经研究员 安喆 4月23日,京东汽车与深蓝汽车联合推出的国民好车2.0车型——深蓝L06增程版正式公布售价,开启大定。京东汽车宣布京东PLUS会员购车可享95折,深蓝L06增程版叠加会员折扣后价格低至127155元起。这也是汽车行业首次开创平台会员直接享受整车价格折扣的新模式,标志着“电商+车企”合作模式迈向了新阶段,平台会员价值也从日常消费延伸到了涵盖购车、用车等更广阔链路。 深蓝L06增程版提供 245Ultra 激光版和245Ultra + 激光版两款配置,官方指导价分别为134900元、146900元。在叠加京东 PLUS 会员 95 折,车型折后价分别低至127155元起、138555元起,不仅击穿同级别智能增程轿跑价格区间,甚至低于同车系纯电版本定价。此外,双方还为深蓝L06增程版用户准备了限时权益,即日起至6月20日前下定的用户下单99元限时首发权益且在6月20日前支付“深蓝L06增程版”定金,还可限时享1000元尾款抵扣权益。 深蓝L06增程版基于京东海量车主数据洞察,精准匹配年轻用户核心需求,搭载磁流变悬架、激光雷达、3nm车规级座舱芯片、超级增程系统等核心配置,打破行业高配溢价惯例,是20万以内少有的“满配”智能增程轿跑。245Ultra 激光版标配全场景智能辅助驾驶、无框车门、电动尾翼、全景天幕等配置,并提供三电及增程系统终身质保,可满足日常通勤、短途出游等主流用车场景;245Ultra + 激光版在此基础上新增高性能底盘进阶套装与舒享科技包,兼顾操控与舒适性,适配长途自驾与复杂路况出行。 续航方面,深蓝L06增程版CLTC综合续航至高1505km、纯电续航至高245km,馈电油耗低至3.46L/100km(NEDC),兼顾动力与经济性,降低用车成本;底盘搭载磁流变悬架,可实现每秒千次阻尼调节,提升行驶稳定性与驾乘舒适性。不仅如此,深蓝L06增程版还搭载激光雷达与双地平线J6M芯片,配备全球首发3nm车规级座舱芯片,保障操作流畅度与导航精准度。 深蓝汽车与京东汽车通过深度协同优化成本结构,在坚持“高配不溢价”的基础上,加码推出京东PLUS会员购车95折的重磅权益,深蓝L06 245Ultra+激光版京东PLUS会员购车成本直降7345元,几乎覆盖用户一年油费与基础保养支出。除折扣外,用户还可叠加多重购车权益,包括金融免息、免费全场景城区领航辅助、免费科技舒享包、999元购价值3999元充电桩(含30米基础安装)、三电与增程系统终身质保、终身免费基础流量、1年京东PLUS会员等,综合权益价值44359元,进一步降低购车与用车成本。 新车选购渠道上更是提供了多元选择,同步上线京东自营与深蓝官方旗舰店,支持线上一键下定,流程透明高效。同时,京东推出“Open出发”120分钟上门深度试驾服务,解决传统试驾场景单一、体验有限的问题。据了解,前期济南内测数据显示,该服务有效提升了用户购车意向。目前,深蓝L06增程版已在京东APP全面开启大定,消费者可搜索“国民好车”锁定PLUS会员95折等权益,完成下定解锁新车体验。
-
从自然到人居的高定,香山樾交付真正的长期主义
凭借对东方人居理念的深研与对高端生活方式的落地,香山樾不仅为北京树立起新一代文化豪宅的交付范本,更以过硬的产品力与服务力,在日趋白热化的北京高端人居赛道中实现价值突围
-
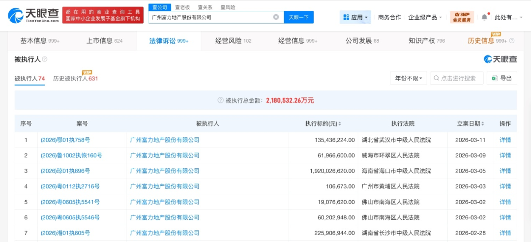
被立案的欢瑞世纪,涉数百起证券虚假陈述纠纷
案件身份多为被告,案由涉及证券虚假陈述责任纠纷、借款合同纠纷、合同纠纷等
-
多地举办全民阅读活动周,你今天读书了吗?
截至目前,我国现存在业、存续状态的图书相关企业超242万家
-
“近视神药”爆火!这家公司靠滴眼剂年入19.5亿?
2025年,兴齐眼药包括“近视神药”硫酸阿托品滴眼液在内的滴眼剂产品实现收入19.50亿元,同比增长42.76%,占营收比重增至78.87%
-
Lululemon疑含致癌物后续:质检结果如何?
有记者从lululemon处获悉,PFAS 物质均未检出
-
“0糖”“0脂”被抢注为商标?你被骗了吗?
目前绝大多数商标已被驳回
-
京东关联公司6.63亿元杭州拿地,什么用途?
该地块位于杭州钱江世纪城核心区域,出让面积2.6297公顷,为商务金融用地
-
加码养老布局!中国人寿成立私募基金
出资额85亿元
-
王濛与前经纪公司纠纷新进展!
王濛公司起诉前经纪公司不当得利

