×

专业 · 专注 · 垂直
内容 · 数据 · 平台

即时零售大战新进展,闪购商标不断注册中

长按扫码
查看详情

投资时报首页 > 资讯 > 正文

即时零售大战新进展,闪购商标不断注册中

资讯 2025-07-14 11:29:43 23097 分享: 字体大小:Aa-Aa+

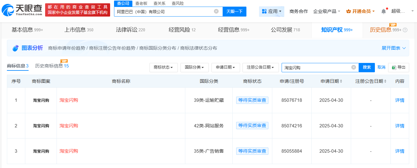
阿里巴巴申请注册“淘宝闪购 点外卖更优惠”商标,国际分类为广告销售

投资时间网、标点财经快讯

天眼查App显示,近日,阿里巴巴(中国)有限公司申请注册“淘宝闪购 点外卖更优惠”商标,国际分类为广告销售,当前商标状态为等待实质审查。此前,该公司已申请注册3枚“淘宝闪购”商标。


标签:

公司
×

登录您的账号

还没有账号? 注册
  • 忘记密码
  • 使用第三方账号登录

×

登录您的账号

还没有账号? 注册
  • 发送验证码
  • 使用第三方账号登录

×

注册您的账号

已有账号?
  • 发送验证码
×

忘记密码

输入与您的帐户关联的邮箱,我们将通过邮箱验证码来重置密码。
  • 发送验证码
微信

微博