广州富力地产股份有限公司现存80余条被执行人信息
投资时间网、标点财经快讯
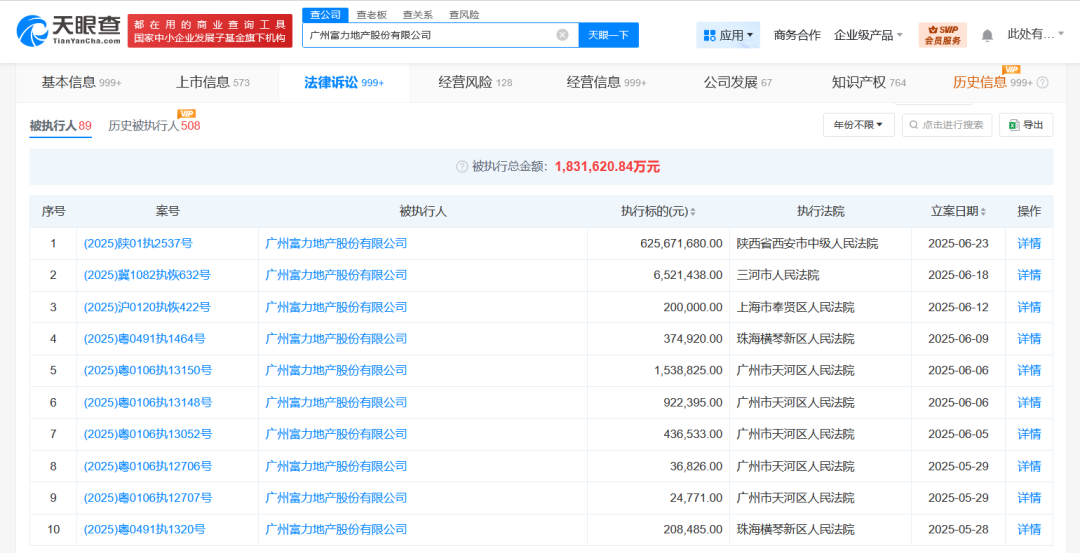
天眼查法律诉讼信息显示,近日,富力地产(02777.HK)、西安坊城置业有限公司新增一则被执行人信息,执行标的6.2亿余元,执行法院为陕西省西安市中级人民法院。
天眼风险信息显示,广州富力地产股份有限公司现存80余条被执行人信息,被执行总金额超183亿元,此外,该公司还存在多条限制消费令、失信被执行人(老赖)及终本案件信息。
天眼查信息:
https://www.tianyancha.com/judicialcase/detail/14365540/d79e78267f4c4bb39bccb71473b51c12
关键词:富力地产(02777.HK)




相关文章