北京泡泡玛特文化创意有限公司已申请注册80余枚“labubu”“拉布布”相关商标
投资时间网、标点财经快讯
据媒体报道,近日,泡泡玛特旗下的Labubu爆火,可谓是“一娃难求”。在某拍卖平台,原价9000元的4只Labubu拍出22403元。还有泡泡玛特与爱马仕铂金包捆绑竞拍,原价19万,最后拍出203428元。其限量款在二手市场溢价达20倍-30倍。
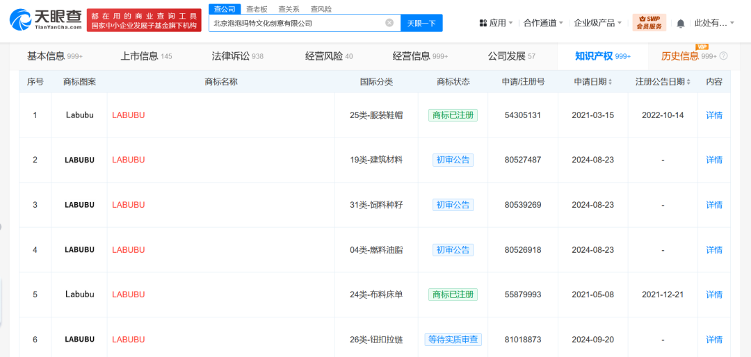
天眼查知识产权信息显示,北京泡泡玛特文化创意有限公司已申请注册80余枚“labubu”“拉布布”相关商标,国际分类为教育娱乐、办公用品、服装鞋帽等,当前部分商标已注册成功。此外,该公司于今年1月登记“《LABUBU 与朋友们》动画剧集第一季剧本V1”作品著作权,作品类别为文字。
值得一提的是,近期,多家新成立公司以“拉布布”命名,包括杭州拉布布文化传媒有限公司、浙江拉布布纺织科技有限公司、深圳拉布布商务有限公司、东莞市拉布布玩具有限公司等。
天眼查信息:https://www.tianyancha.com/company/3327027629
https://www.tianyancha.com/nsearch?key=%E6%8B%89%E5%B8%83%E5%B8%83




相关文章