×

专业 · 专注 · 垂直
内容 · 数据 · 平台

小米申请新商标,这次是什么?

长按扫码
查看详情

投资时报首页 > 资讯 > 正文

小米申请新商标,这次是什么?

资讯 2024-11-25 13:58:25 14522 分享: 字体大小:Aa-Aa+

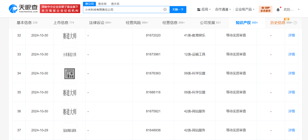
小米科技有限责任公司申请注册“超级小爱主动智能”“小米赛道”“赛道大师”“AIOS”等多个商标

标点财经、投资时间网快讯

天眼查知识产权信息显示,近日,小米科技有限责任公司申请注册“超级小爱主动智能”“小米赛道”“赛道大师”“AIOS”等商标,国际分类涉及科学仪器、运输工具、网站服务等,当前商标状态均为等待实质审查。

公开信息显示,超级小爱是小爱同学的超级AI进化版,致力于打造一个全生态的AI智能助手。


标签:

公司
×

登录您的账号

还没有账号? 注册
  • 忘记密码
  • 使用第三方账号登录

×

登录您的账号

还没有账号? 注册
  • 发送验证码
  • 使用第三方账号登录

×

注册您的账号

已有账号?
  • 发送验证码
×

忘记密码

输入与您的帐户关联的邮箱,我们将通过邮箱验证码来重置密码。
  • 发送验证码
微信

微博