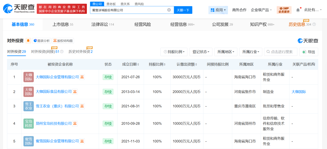
对外投资信息显示,该公司直接持股近30家企业,其中20余家为存续状态
投资时间网、标点财经快讯
近日,蜜雪集团发布中期业绩公告:上半年收入为148.7亿元,同比增长39.3%,净利润为27.18亿元,同比增长44.1%。
天眼查工商信息显示,蜜雪集团(02097.HK)成立于2008年4月,法定代表人为张红甫,注册资本3.6亿人民币,经营范围含第二类增值电信业务、餐饮服务、企业管理咨询、市场营销策划、企业形象策划、会议及展览服务、食品互联网销售、非居住房地产租赁等。
股东信息显示,该公司由张红甫、张红超、海南万店盈利投资合伙企业(有限合伙)等共同持股。对外投资信息显示,该公司直接持股近30家企业,其中20余家为存续状态,包括雪王农业(重庆)有限公司、大咖国际企业管理有限公司、河南幸运咖餐饮管理有限公司等,版图涉及餐饮、文化娱乐、科技等。




相关文章